<< HOME

Stop Action






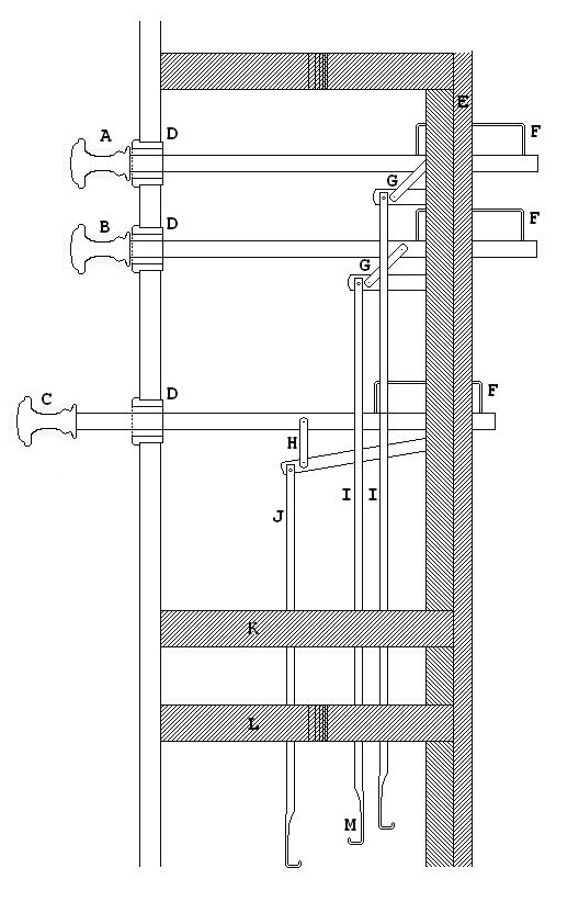
Stop Action Because the Apollo is a reed organ, there are certain properties which the stop mechanism must display. The ranks of reeds are "turned on" not by the motion of a slider as in a pipe organ, but instead by the opening of leather-covered valves or "mutes". These mutes cover the outside of the reed cells to prevent air from being sucked through the reeds into the chest. When the stop is draw, the mute is hinged open by a simple mechanical linkage, it is closed by the pressure of a spring. It is therefore neccesary that the stop action be constructed so that as the stop is drawn, the mute is opened against the force of the spring, and when the stop is fully extended, that there is no possibility of the mute spring forcing the stop register back into the "off" position. This is accomplished as follows:

The stops A and B are shown in the off position. The shanks D D D run through bushed holes in the back board E. The Wires F F F prevent the stops from being drawn too far. The arms G G are connected to levers M M which act on the rods, I I. The Stop C is shown in the on position. The shank D is extended, pullinf the arm, H forward and forcing the lever N downwards. The lever acts on the rod, J which runs through the guide blocks, K and L. The ends of the rods, at M are hooked and push down on levers which are directly connected to the mute valves. The mute springs excert an upward force on the rods J I I, when the stop is drawn, this force will not
pull the stop register back in, it will simply push slightly upwards on the shank D. By pushing the stop register back in manually, the are H pulls the lever N upwards and allows the rod, J to return to the rest position, the mute will close under the pressure of the spring. This action is extremely smooth, so much so, that composition pedals are employed to change the registration (see Composition Pedals).



The stop action is illustrated further below. The end of the levers, A and B are pushed down by the rods J I I in the above illustration. The lever C represents a stop which has been drawn. The wooden linkages at E E E are at rest, whilst that at D is raised by the lever, C. The closed mutes are shown at G G G. The linkage is connected with a cranked rod, F, which is attached to the mute H which is opened. The reed at I therefore will speak.


Stop Action








<< HOME